Главная страница портала » Главная страница каталога статей » Публикация статей на тему » ПРОМЫШЛЕННОСТЬ

Корончатая гайка - это и для чего?

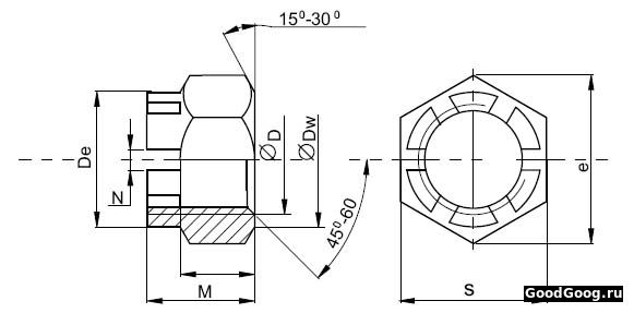
Корончатая гайка - чертежНапример, соединяя в ряде случаях элементы или детали конструкций, возможно заметить, как сделанное соединение в итоге становится ненадежным из-за возникающих вибрации этих соединенных элементов. А, если сильнее закручивать или производить грубо дополнительные усилия по обеспечению стабильности конструкции – то в итоге ничего не получается. По законам физики требуется не дополнительное усилие, а защита сконструированного соединения. И вот, производители метизов для решения проблемы предложили – использование для этих целей как не странно корончатую гайку.

Корончатая гайка выпускается специально для закрепления с надежным сцеплением - соединения, в тех случаях, когда действуют постоянные или периодические вибрационные силы, а в ряде случаев и иные дополнительные нагрузки. При создании соединения, если конструкция подвержено постоянному сильному воздействию со стороны вибрационных сил, здесь тогда рекомендуется по возможности стопорить гайку непосредственно шайбой, можно шплинтом или контргайкой. А, ещё можно их комбинировать.

Корончатая гайка - видСамо изделие (корончатая гайка) представляет из себя шестигранную деталь с сделанным вырезанным аккуратным круглым отверстием, внутри имеет резьбу. Выпуск в промышленности корончатой гайки – считается довольно сложным процессом производства в сравнение например с обычными выпускаемыми гайками, это и объясняет её столь высокую цену. Кроме того данная гайка отличается от обычных, что имеет у выступающего с одного края так называемую «коронку» - а по кругу располагаются зубья, тем самым напоминая в целом вид короны. Общее количество в самой коронке прорезей – часто от 6 до максимум 8 все зависит от предполагаемого диаметра резьбы.

В рамках ГОСТ РФ и аналогичному зарубежному стандарту DIN 935, изготавливаемые корончатые гайки обладают диаметром резьбы от 4 мм и до 48 мм (d). А, вот под ключ имеющийся размер гайки (s) в параметрах варьируется уже от 7 мм и до 75 мм. У корончатой гайки резьба бывает как мелкой так и крупной. Стандартное расстояние определенное между всеми витками резьбы (или как по другому - шаг резьбы) может варьироваться: к примеру по мелкой резьбе это – от 1 мм и до 3 мм, а скажем по крупной это – от 0,7 мм и до 4,5 мм.
 





Контактные данные автора


Категория: ПРОМЫШЛЕННОСТЬ | Добавил: gena (11.06.2020)
Просмотров: 1103 | Теги: гайки, корончатая гайка, метизы, промышленность
Всего комментариев: 0
Добавлять комментарии могут только зарегистрированные пользователи.
[ Регистрация | Вход ]



Спасибо за ваши рекомендации:

Нравится


Яндекс.Метрика